产品概述
NBKVRFT968Y系列小流量控制阀是给水泵的重要保护设备之一,本厂生产的小流量控制阀可与125、200、300、600、1000MW机组锅炉给水泵配套。当给水泵输出流量小于规定的最小流量时,将造成给水泵内液体汽化,甚至会导致给水泵汽化后无法工作。小流量控制阀的功能就是当给水泵输出流量减少到最小流量以后时,立即自动开启,将给水泵输出部份流量分流至除氧器,从而使给水泵在可靠条件下运行。有效保护了给水泵的安全运行。当给水泵流量增大至最小流量以上时,小流量阀自动关闭,系统进入正常工作状态。
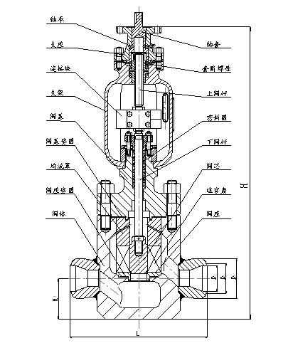
小流量控制阀实际上是一台具有调节流量功能的节流阀,有两种结构产品。
1、NBKVRFT968Y多级节流式:该型阀门采用多片带孔圆盘叠合而成的节流环和上部的均流罩构成节流件,通过阀芯的升降来改变节流件的通流截面来增减给水流量。由于采用节流环后,改变了原来的一次降压为多次降压,从而减少了汽蚀和噪声,提高了最小流量控制阀的使用寿命。由于该阀采用了压力平衡结构,降低了阀门不平衡力,减少了执行机构的驱动力矩,节约能源。由于阀门采用方便的装配结构,维修相当方便。
2、NBKVRFT968Y迷宫式:该型阀门采用多片迷宫片叠合而成的迷宫盘构成节流件,水流在迷宫中经曲折来回而节流降压。控制流量也是通过阀芯上下移动来改变迷宫通流截面的大小来实现调节流量的目的。因此它更具有抗汽蚀,耐磨损,低噪音的特点,结构相当简单,维修方便。
工作原理
NBKVRFT968Y系列给水泵小流量控制阀是由电动执行机构和小流量控制阀两部份组成。阀门输入是调节器送来的直流电信号,经伺服放大器放大后来驱动执行机构,产生轴向推力,带动阀门动作,从而引起介质流量的变化,来调节系统中各类参数。同时执行机构发出一个阀的位置信号供伺服放大器比较,使阀门始终保持在一个与输入信号相对应的位置上,完成伺服调节任务。该最小流量控制阀适用于125、200、300、600、1000MW机组给水泵小流量控制阀,也适用于100MW机组以下给水泵小流量的控制和调节。
主要技术参数
| 公称通径DN(mm) | 50 | 65 | 80 | 100 |
| 流量特性 | 近似线性 |
| 公称压力PN (MPa) | ≤50 |
| 连接型式 | 焊接 |
| 配用执行机构 | PZD型、ZKDS型 |
| 行程L(mm) | 多级式 | 40 | 57.6 |
| 迷宫式 | 57.6 | 88.2 |
| 工作温度(℃) | ≤400 |
| 额定流量系数 Cv | 25 | 39 | 56 | 91 |
| 开或闭时间t (s) | ≤28 |
| 使用介质 | 水 |
| 使用压差△P(MPa) | ≤32 |
注:可配气动执行机构
阀门主要材料
| 名称 | 材 料 |
| 阀体 | 20#、20CrMo |
| 阀芯 | 440C、2Cr13 堆焊司太莱合金 |
| 阀杆 | 17-4PH |
| 阀座 | 440C、2Cr13 堆焊司太莱合金 |
外形尺寸
| 产品型号 | FT968Y多级节流式 | FT968Y迷宫式 |
| 公称通径DN(mm) | 50 | 65 | 80 | 100 | 50 | 65 | 80 | 100 |
| H (mm) | 981 | 1170 | 1170 | 1360 | 981 | 1170 | 1170 | 1360 |
| H1 (mm) | 120 | 155 | 155 | 159 | 120 | 155 | 155 | 159 |
| H2 (mm) | 250 | 300 | 300 | 350 | 250 | 300 | 300 | 350 |
| L (mm) | 400 | 520 | 520 | 550 | 400 | 520 | 520 | 550 |
| D1 (mm) | 90 | 95 | 133 | 165 | 90 | 95 | 133 | 165 |
| D2 (mm) | 76 | 89 | 120 | 140 | 76 | 89 | 120 | 140 |
| D3 (mm) | 50 | 65 | 80 | 100 | 50 | 65 | 80 | 100 |
注:上述尺寸仅供参考。可按工况要求设计。
阀门结构图
